Flooring Samples Make it Easy to Find the Right Floor

Learn More About Samples

Experience Peace of Mind with Expert Installation

Schedule Your In-Home Measure

Lumber Liquidators Stores Are Open Sunday Nov 30th

Find Your Local Store

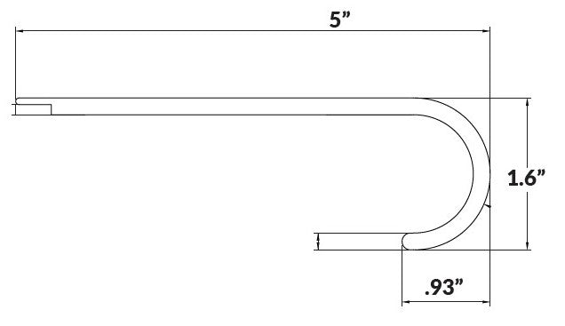
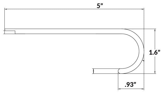
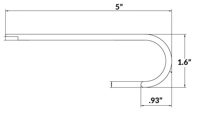
BestTread  |  SKU: LLFRVP5SWOLSN

Shoreway Oak Landing Stair Nose

$8.42 /LFT
$32.99 /each



CLX BT Shoreway Oak 47" Landing SN